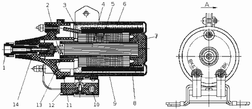
Катушка зажигания (рис. 41) представляет собой электрический автотрансформатор с разомкнутой магнитной цепью. Сердечник 4 катушки набран из пластин трансформаторной стали, изолированных друг от друга окалиной. На сердечник надета изолирующая трубка с намотанной вторичной обмоткой 5, на которую намотана первичная обмотка 8. Корпус 6 катушки штампованный из листовой стали. Внутри корпуса установлен наружный магнитопровод 9 из трансформаторной стали. Фарфоровый изолятор 7 и карболитовая крышка 14 предотвращают возможность пробоя между сердечником и корпусом катушки.

Рис. 41. Катушка зажигания: 1 и 13 — клемма и контактная пластина высокого напряжения, 2 — контактная пружина, 3 — изолирующий наполнитель, 4 — сердечник, 5 — вторичная обмотка, 6 — корпус, 7 — изолятор, 8 — первичная обмотка, 9 — наружный магнитопровод, 10 — добавочный резистор, 11 — уплотнительная прокладка, 12 — изолятор, 14 — крышка.
Начало вторичной обмотки выводится к клемме высокого напряжения через контактную пластину 13, сердечник 4 и контактную пружину 2. Начало первичной и конец вторичной обмоток соединены между собой (автотрансформаторная связь) и подведены к клемме ВК так, что конец вторичной обмотки подведен к клемме, соединяемой с распределителем. Обмотка катушки зажигания намотана таким образом, что при правильном включении катушки («—» на корпус) на выводной клемме высокого напряжения создается отрицательная полярность, и пробивное напряжение искрового промежутка свечи будет ниже.
Пространство между обмотками и корпусом катушки заполнено изолирующим трансформаторным маслом 3. К клеммам Б и ВК присоединен добавочный резистор 10, установленный в керамическом изоляторе 12. Резисор может быть прикреплен к катушке или установлен отдельно от нее. Сопротивление резистора в зависимсти от типа катушки составляет 1,0...1,9 Ом. На некоторых моделях автомобилей добавочный резистор отсутствует.