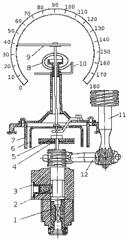
Спидометр, указывая скорость движения, одновременно отсчитывает путь, пройденный автомобилем. Спидометр состоит из двух механизмов (рис. 50), объединенных общим кожухом и основанием: указателя скорости (скоростного узла) и счетного узла (счетчика).
Механизм указателя скорости состоит из валика 1 привода магнита с жестко укрепленным на нем магнитом 5, приводимым во вращение с помощью гибкого троса от ведомого вала коробки передач.
При вращении магнита его магнитный поток пронизывает металлический диск (картушку) 6. В результате в теле картушки индуктируется э.д.с, создающая вихревые токи. Токи в свою очередь тоже создают магнитное поле, которое, взаимодействуя с полюсами вращающего магнита, вызывает поворот картушки в сторону вращения магнита, а вместе с ней и стрелки 9, указывающей скорость движения автомобиля в км/ч.
Момент вращения картушки уравновешивается противодействующим моментом пружины 8.
Магнит 5 защищается магнитным экраном 7 от размагничивания посторонними магнитными полями. Для предупреждения искажений в показаниях прибора при изменении температуры устанавливают магнитный шунт 4 (термокомпенсатор).
Счетчик спидометра состоит из системы валиков 11 и 12, взаимодействующих с помощью червячных передач. С валиком 11 связаны барабанчики счетчика, которые имеют на внутренней стороне обода зубья и связаны между собой штифтами, помещенными между каждой парой барабанчиков на кронштейнах. На наружной стороне обода барабанчиков — равные промежутки цифр от 0 до 9.

Рис. 50. Спидометр: 1 — валик, 2 — фитиль, 3 — заглушка, 4 — магнитный шунт, 5 — магнит, 6 — картушка, 7 — магнитный экран, 8 — пружина, 9 — стрелка, 10 — рычажок, 11, 12, — валики привода счетчика.